THZW轴流泵
发布时间:2024-05-15        分享到:
一、产品简介:
THZW化工轴流泵是卧式单级单吸悬臂式离心泵,其技术要求符合GB/T13008标准。主要应用于大流量、低扬程的化工流程,特别适用于制碱、制盐发酵行业、冶金、磷肥等行业的蒸发浓缩、结晶、物料循环等强制循环工艺系统之中。
应用领域:
制碱行业:氢氧化钠、碳酸钠、氯化铵工序冷析、蒸铵废液回收等工序蒸发浓缩;
制盐行业:NaCI蒸发浓缩;
轻工行业:乳酸蒸发浓缩、酒精蒸发浓缩、VCNa食品保鲜剂的化学反应、糖液蒸发;
冶金:硫酸铜、硫酸镍等蒸发浓缩;
磷肥厂:湿法磷酸浓缩、磷铵料浆浓缩;
芒硝厂:Na2S04蒸发器介质浓缩;
氧化铝:铝酸钠碱液蒸发浓缩。
典型使用工况:氯碱、制盐、磷酸、硫化碱、发酵等。
二、结构图:

1、泵体2、导水锥3、叶轮螺母4、叶轮5、副叶轮轴套6、法兰体
7、机械密封8、机封轴套9、泵盖10、静环压盖11、填料12、填料压盖
13、甩水盘14、轴承前盖15、前轴承16、气孔盖17、悬架体18、轴
19、后轴承20、止退螺母、垫片21、轴承后盖22、泵联轴器
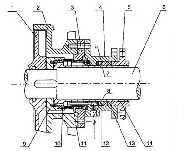
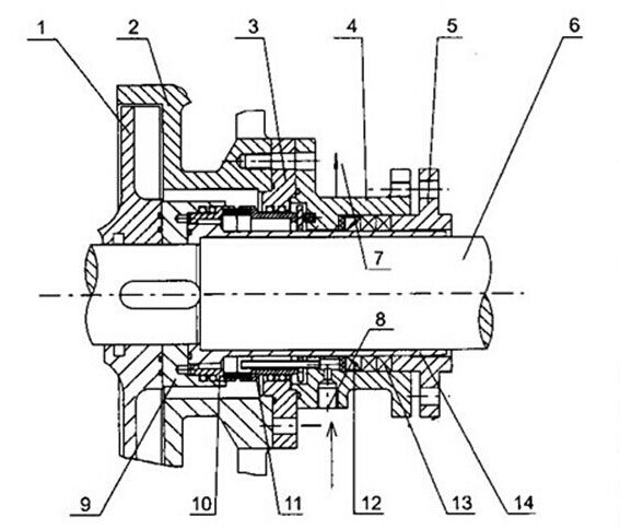
三、机封示意图:

1、副叶轮2、法兰体3、泵盖4、填料盖5、填料压盖6、轴7、冷却水出
8、冷却水进9、传动座10、动环11、静环12、骨架油封13、填料14、机封轴套



